简体中文简体中文
首页 » 产品 » 钻采提速器

loading

分享到:

钻采提速器

状态:
数量:

产品描述

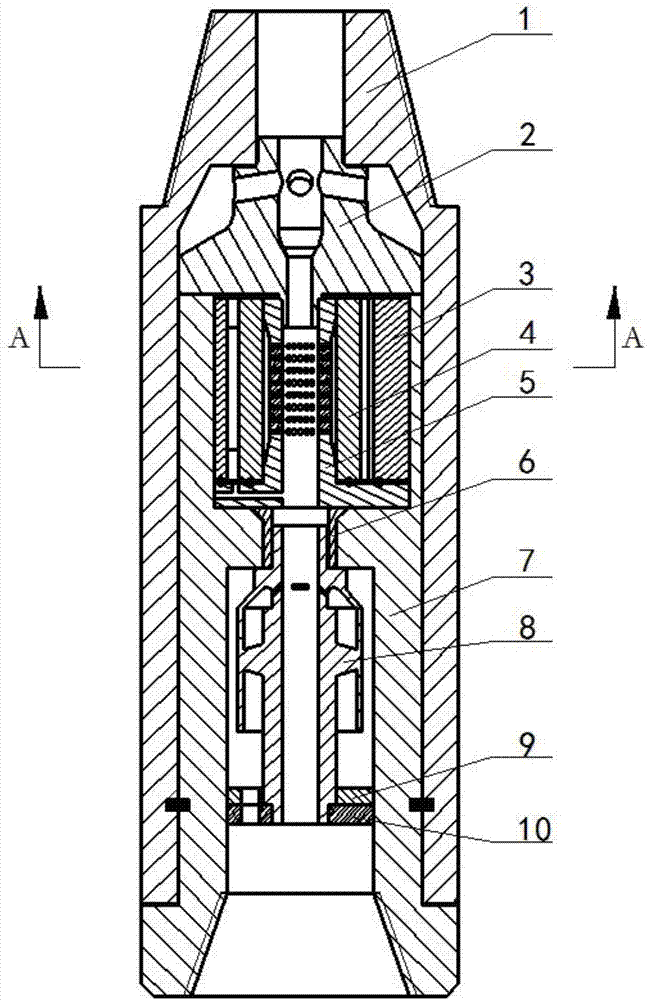
产品特点
1,将泥浆动能转化为上倾的高频冲击能并转移到PDC钻头上,大大提高了硬地层的可钻性;

2,提高了PDC钻头的稳定性,消除了定向井作业中的错误和故障;

3,延长钻头使用寿命;

4,有效提高较硬岩石地层的机械渗透率;

5,有效减少演习次数;

6.可节省大量成本并节省钻井时间。

在钻孔过程中,扭矩冲击器应与PDC钻头一起使用。扭转冲击发生器连接在PDC钻头上方,可将钻井液的动能转换为稳定,均匀,低振幅和高频的脉冲扭转冲击力,并与钻头产生的扭矩同时传递给钻头。两者的共同作用可以显着提高钻井速度,滑移率和卡钻现象,并成倍减少,并可以有效地减少或消除硬地层钻进过程中钻头的有害振动;保护钻头,提高ROP(机械穿透率),同时延长钻头的使用寿命。

型号
外径
总长
接头螺纹
适用井眼
推荐流量
推荐井压
SX-CQ-1
165(6 1/2)
870
4 1/2 REG
7~8 1/2
29~31
120~140


上一条: 
下一条: 

产品分类

电话
18222120111
15735605645
Whatsapp
+ 86-18703173332
+86-17331717366

快速链接

产品展示

Copyrights 2019 河北中兴宏力钻头制造有限公司版权所有  技术支持:Leadong  网站地图
冀ICP备19037640号-1